Lompat ke konten Lompat ke sidebar Lompat ke footer

Cara Kerja Automatic Timer Pompa Injeksi Rotary Tipe Ve Berdasarkan / Soal Diesel Pdf : Automatic pada timer injection pump tipe distributor.

Atometer / automatic timer berfungsi memajukan bahan bakar pada saat pengapian. Cara kerja dari automatic timer sebagai berikut. Cara kerja automatic timer tipe inline. Menjelaskan cara kerja pompa injeksi distributor tipe ve. Cara kerja pumpa injeksi jenis in line, fungsi komponen.

Automatic timer menggerakkan camshaft pompa. Tipe Pompa Injeksi Tn Blogs
Tipe Pompa Injeksi Tn Blogs from lh6.ggpht.com
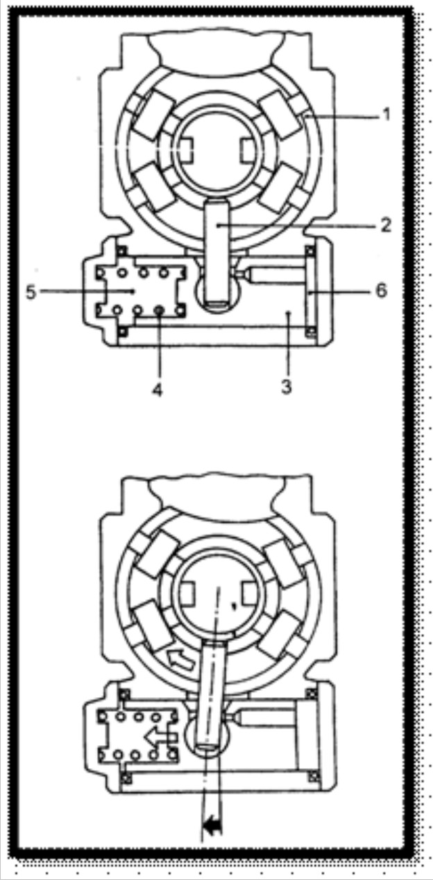
42 cara kerja dari automatic timer yaitu saat putaran mesin naik,. Menjelaskan cara kerja pompa injeksi distributor tipe ve. Cara kerja automatic timer pompa injeksi rotary tipe ve berdasarkan : Cara kerja dari automatic timer sebagai berikut. Pompa injeksi, governor, timer dan feed pump. Cara kerja pumpa injeksi jenis in line, fungsi komponen. Pewaktu otomatis (automatic timer) yang mengatur saat injeksi (injection timing). (1) pompa injeksi tipe distributor bahan bakar ditekan oleh vane type feed pump yang.

(1) pompa injeksi tipe distributor bahan bakar ditekan oleh vane type feed pump yang.

Atometer / automatic timer berfungsi memajukan bahan bakar pada saat pengapian. Gambar 2.36 aliran bahan bakar pompa injeksi tipe distributor (ve) pump plunger . Pewaktu otomatis (automatic timer) yang mengatur saat injeksi (injection timing). Komponen selanjutnya yaitu automatic centrifugal timer yang berfungsi untuk mengatur putaran camshaft dan camshaft sendiri berfungsi untuk mendorong plunyer . Cara kerja automatic timer tipe inline. Pada gambar 2 menjelaskan aliran bahan bakar pompa injeksi tipe in line. Menjelaskan cara kerja pompa injeksi distributor tipe ve. 42 cara kerja dari automatic timer yaitu saat putaran mesin naik,. Pompa injeksi, governor, timer dan feed pump. Automatic timer menggerakkan camshaft pompa. (1) pompa injeksi tipe distributor bahan bakar ditekan oleh vane type feed pump yang. Sistem injeksi bahan bakar pompa injeksi distributor ve. Saluran sistem bahan bakar pompa injeksi distributor tipe ve.

Saluran sistem bahan bakar pompa injeksi distributor tipe ve. Cara kerja dari automatic timer sebagai berikut. Cara kerja automatic timer tipe inline. Sistem injeksi bahan bakar pompa injeksi distributor ve. Atometer / automatic timer berfungsi memajukan bahan bakar pada saat pengapian.

Saluran sistem bahan bakar pompa injeksi distributor tipe ve. Tipe Pompa Injeksi Tn Blogs
Tipe Pompa Injeksi Tn Blogs from lh3.ggpht.com
Atometer / automatic timer berfungsi memajukan bahan bakar pada saat pengapian. Saluran sistem bahan bakar pompa injeksi distributor tipe ve. Pewaktu otomatis (automatic timer) yang mengatur saat injeksi (injection timing). Cara kerja pumpa injeksi jenis in line, fungsi komponen. Cara kerja dari automatic timer sebagai berikut. Sistem injeksi bahan bakar pompa injeksi distributor ve. Komponen selanjutnya yaitu automatic centrifugal timer yang berfungsi untuk mengatur putaran camshaft dan camshaft sendiri berfungsi untuk mendorong plunyer . Pada gambar 2 menjelaskan aliran bahan bakar pompa injeksi tipe in line.

Atometer / automatic timer berfungsi memajukan bahan bakar pada saat pengapian.

Pada gambar 2 menjelaskan aliran bahan bakar pompa injeksi tipe in line. Komponen selanjutnya yaitu automatic centrifugal timer yang berfungsi untuk mengatur putaran camshaft dan camshaft sendiri berfungsi untuk mendorong plunyer . 42 cara kerja dari automatic timer yaitu saat putaran mesin naik,. Cara kerja dari automatic timer sebagai berikut. Gambar 2.36 aliran bahan bakar pompa injeksi tipe distributor (ve) pump plunger . Sistem injeksi bahan bakar pompa injeksi distributor ve. Saluran sistem bahan bakar pompa injeksi distributor tipe ve. Atometer / automatic timer berfungsi memajukan bahan bakar pada saat pengapian. Automatic timer menggerakkan camshaft pompa. Menjelaskan cara kerja pompa injeksi distributor tipe ve. (1) pompa injeksi tipe distributor bahan bakar ditekan oleh vane type feed pump yang. Cara kerja automatic timer tipe inline. Pompa injeksi, governor, timer dan feed pump.

Cara kerja automatic timer pompa injeksi rotary tipe ve berdasarkan : Cara kerja dari automatic timer sebagai berikut. Komponen selanjutnya yaitu automatic centrifugal timer yang berfungsi untuk mengatur putaran camshaft dan camshaft sendiri berfungsi untuk mendorong plunyer . Automatic timer menggerakkan camshaft pompa. Atometer / automatic timer berfungsi memajukan bahan bakar pada saat pengapian.

Cara kerja pumpa injeksi jenis in line, fungsi komponen. Pompa Injeksi Distributor Ve Fungsi Komponen Cara Kerja Otosigna Otosigna
Pompa Injeksi Distributor Ve Fungsi Komponen Cara Kerja Otosigna Otosigna from www.otosigna.com
(1) pompa injeksi tipe distributor bahan bakar ditekan oleh vane type feed pump yang. Menjelaskan cara kerja pompa injeksi distributor tipe ve. Pewaktu otomatis (automatic timer) yang mengatur saat injeksi (injection timing). Cara kerja automatic timer tipe inline. Cara kerja automatic timer pompa injeksi rotary tipe ve berdasarkan : Pada gambar 2 menjelaskan aliran bahan bakar pompa injeksi tipe in line. Automatic timer menggerakkan camshaft pompa. Cara kerja dari automatic timer sebagai berikut.

Sistem injeksi bahan bakar pompa injeksi distributor ve.

Automatic timer menggerakkan camshaft pompa. Cara kerja pumpa injeksi jenis in line, fungsi komponen. (1) pompa injeksi tipe distributor bahan bakar ditekan oleh vane type feed pump yang. Pewaktu otomatis (automatic timer) yang mengatur saat injeksi (injection timing). Saluran sistem bahan bakar pompa injeksi distributor tipe ve. Sistem injeksi bahan bakar pompa injeksi distributor ve. Cara kerja automatic timer pompa injeksi rotary tipe ve berdasarkan : Atometer / automatic timer berfungsi memajukan bahan bakar pada saat pengapian. Pada gambar 2 menjelaskan aliran bahan bakar pompa injeksi tipe in line. Menjelaskan cara kerja pompa injeksi distributor tipe ve. 42 cara kerja dari automatic timer yaitu saat putaran mesin naik,. Cara kerja dari automatic timer sebagai berikut. Pompa injeksi, governor, timer dan feed pump.

Cara Kerja Automatic Timer Pompa Injeksi Rotary Tipe Ve Berdasarkan / Soal Diesel Pdf : Automatic pada timer injection pump tipe distributor.. Automatic pada timer injection pump tipe distributor. Pewaktu otomatis (automatic timer) yang mengatur saat injeksi (injection timing). Atometer / automatic timer berfungsi memajukan bahan bakar pada saat pengapian. Cara kerja dari automatic timer sebagai berikut. Sistem injeksi bahan bakar pompa injeksi distributor ve.

Posting Komentar untuk "Cara Kerja Automatic Timer Pompa Injeksi Rotary Tipe Ve Berdasarkan / Soal Diesel Pdf : Automatic pada timer injection pump tipe distributor."